Technik
Nikon-DSLR mit Wechselsensor
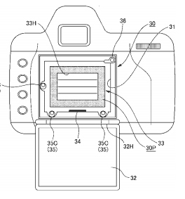
Einem Bericht des IT-Magazins Golem zufolge hat Nikon in Japan einen Patentantrag gestellt, in dem es um eine digitale Spiegelreflexkamera mit wechselbarem Sensor geht.
Bei dem Kamerahersteller Nikon gibt es offenbar Pläne für eine digitale Spiegelreflexkamera mit austauschbarem Sensor – ähnlich wie dies bei Mittelformatkameras bereits möglich ist. Das IT-Portal Golem berichtet unter Berufung auf die Internetseite Nikon Rumors über einen entsprechenden Patentantrag von Nikon. Hier geht‘s zum Artikel.











